组合电路
定义
- 每个电器元件
- 每个电路节点、电路输入、或是链接到外部的电路的一个输出端
- 电路不包含回路(每条路径最多只能经过每个电路节点一次)
电路组成
- 离散输入端
- 离散输出端
- 描述输入输出关系的功能规范(function specification)
- 描述输入改变时输出延迟相应的时序规范(timing specification)
组合电路的输出仅仅取决于输入值。
- 例子:逻辑门
- 特点:无记忆
生产中常用“逻辑综合”,通过逻辑函数化简电路。
逻辑门
- Bubble 圆圈代表取反
- N 输入 XOR 可用于奇偶校验,奇数个 1 时输出 1
- 两输入 XNOR(异或非门)也成为相等门,输入相等为 1
逻辑电平
连续到离散的映射,施加静态约束
组合逻辑
- 极大项:析取(+)
- 极小项:合取(*)
- 主析取范式:极小项析取,为 True 的可能
- 主合取范式:极大项合取,为 False 的可能
- 以上两者,为二级组合逻辑。
- 详细见离散数学。
多级组合逻辑
用的硬件更少,推气泡法很有用。
X和Z
X:非法值
此节点同时由0和1驱动、未知值(没有初始化)
Z:浮空值
状态取决于系统之前的状态
常用组合电路:
- 优先级电路
- 复用器(多路选择器):2^N输入的复用器可以通过把合适的输入连接到0或1上,实现任何N输入逻辑函数。可以优化为用2^(N-1)实现N输入逻辑函数。 方法是将变量、0与1作为复用器输入,用变量控制输出。(P49)最后实现将复用器当作查找表。
- 译码器:N个输入, 个输出。
- 独热:给定时间只有一个输出为高电平。
- 可以和或门组合实现逻辑函数(译码器每个输出为一个极小项)。
- 很容易以此表示析取范式。真值表包含M个1的N输入函数,可用N: 2^N译码器和M输入或门实现。
- 编码器:译码的逆过程。
- 优先编码器:可以同时有多个输入,对优先级最高的编码。
- 数值比较器
算术电路
加法
- 半加器
- 全加器(1 位)
- 进位传播加法器(CPA)(N 位)
- 分类:
- 行波进位加法器:
- 结构:把 N 个全加器串联,前一位的 就是下一级的 。
- 缺点:N 比较大时比较慢
- 先行进位加法器(CLA):
- 结构:把加法器分解为若干块,每块有进位时快速确定此块输出进位。
- 前缀加法器
- 行波进位加法器:
- 溢出判断: ,1 则溢出。
- 分类:

减法
将被减数转为补码后相加。
即控制 B 取反(与 1 异或),然后初始进位设为 1。
特别注意此时的进位(Carry):

比较器
- 相等比较器:
- 功能:产生一个布尔值,说明是否
A == B - 实现:按位异或、取或,输出为 0 则相等
- 功能:产生一个布尔值,说明是否
- 量值比较器:
- 功能:产生一个或多个输出,说明 A,B 的关系值。
- 实现:计算 A - B 的值,以
slt为例,- 有符号:检查符号位,若 1 则 ,否则 。实际上,考虑溢出,应该是:
- 无符号:如果 A - B 发生借位,那么 ,否则 ,因此 。

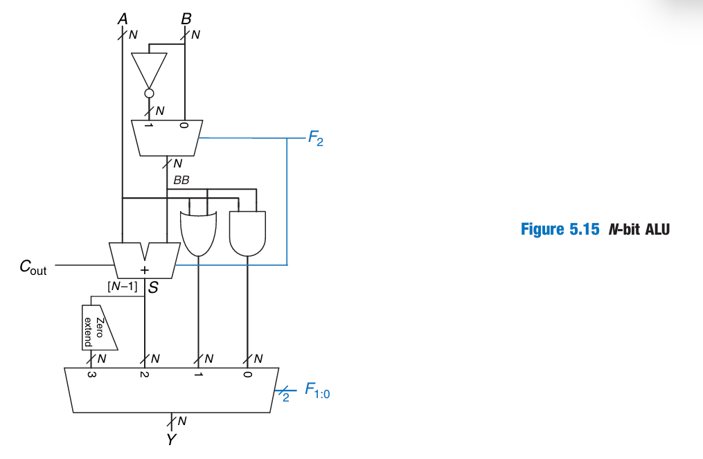
ALU
将多种算术、逻辑运算组合至一个单元,可以执行加减、量值比较、AND 和 OR 等运算。


移位器和循环移位器
- 作用:移动位,完成 2 的幂的乘除法。
- 分类:
- 逻辑移位器:0 填充空位
- 算术移位器:右移补充符号位,左移和逻辑移位器一致
- 循环移位器:从一端移走的数字重新填充到另一端
时序
组合电路的时序特征包括传播延迟、最小延迟
- 传播延迟(tpd) 当输入改变,直到一个或者多个输出达到最终值所经历的最长时间
- 最小延迟(tcd)
当一个输入改变,直到任意一个输出改变的最短时间
因此路径分为关键路径、最短路径 - 关键路径:经过的门多,耗时最长,最慢,限制了电路运行速度
- 最短路径:经过的门少,耗时最短,最快。
组合电路的: - 传播延迟是关键路径的每一个原件的传播延迟之和;
- 最小延迟是最短路径上每个元件的最小延迟之和。
因此设计电路时: - 控制关键:关键路径是控制-输出;数据关键:关键路径是数据-输出
- 若控制信号先到达,选择最短数据-输出延迟的设计,vice versa.(后来者要快,不要让先来的等太久)
毛刺(P54)
原因: 时序
- 穿越卡诺图两个圈边缘可能会有毛刺,即下一个合取式对应的信号输入准备好前,由于信号变化,目前合取式的信号改变了,导致输出短暂的“失真”。
- 多个输入上的同时变化也会导致毛刺,无法增加硬件避免。
措施
- 在读取输入前等待传播延迟消逝即可。(选通法)
- 也可以通过增加门电路,增加冗余项,避免直接从卡诺图的一个圈到另一个圈。
- 在电路输出端并联滤波电容的方法消除尖峰脉冲。(滤波法)

并非所有的毛刺都可以消除,因此关键不在于避免,在于意识到其存在。